Tahoe
Внимание: галогеновые лампы сильно нагреваются во время работы. Если поверхность лампы загрязнится, это приведет к чрезмерному нагреву поверхности галогеновой лампы и её срок службы сократится. При замене галогеновой лампы держите её за металлический цоколь, а не за стекло.
1. Переведите переключатель управления освещением в положение "OFF".
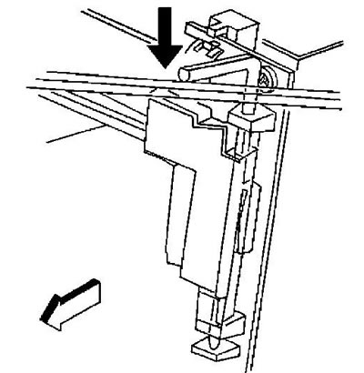
2. Откройте капот и поверните фиксатор фары.

3. Снимите фиксаторы.

4. Снимите фару.
5. Извлеките лампы из фар.

6. Установку произведите в порядке, обратном снятию.
Escalade
Внимание: галогеновые лампы сильно нагреваются во время работы. Если поверхность лампы загрязнится, это приведет к чрезмерному нагреву поверхности галогеновой лампы и её срок службы сократится. При замене галогеновой лампы держите её за металлический цоколь, а не за стекло.
1. Снимите решетку радиатора.
2. Снимите фиксаторы фар.

3. Снимите фару.

4. Отсоедините разъем.
5. Снимите резиновую заглушку.
6. Извлеките лампу.
7. Установку произведите в порядке, обратном снятию.
Avalanche
Внимание: галогеновые лампы сильно нагреваются во время работы. Если поверхность лампы загрязнится, это приведет к чрезмерному нагреву поверхности галогеновой лампы и её срок службы сократится. При замене галогеновой лампы держите её за металлический цоколь, а не за стекло.
1. Откройте капот.
2. Снимите передний указатель поворота.
3. Отсоедините фиксаторы фары.

4. Снимите фару.
5. Отсоедините разъемы.
6. Поверните лампы против часовой стрелки и извлеките их.
7. Установку произведите в порядке, обратном снятию.
