Оглавление: Снятие ↧ Установка ↧
Снятие
1. Снимите диффузор вентилятора радиатора (или только его верхнюю часть).
2. Снимите ремень привода навесных агрегатов.
3. С помощью съемника демонтируйте шкив насоса.

Установка
1. Установите шкив на вал насоса усилителя рулевого управления.
2. С помощью оправки напрессуйте шкив на вал.

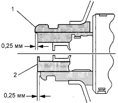
3. Убедитесь в том, что шкив (1) стоит заподлицо с валом (2) насоса (с допуском±0,25 мм).

4. Установите ремень привода навесных агрегатов.
5. Установите диффузор вентилятора радиатора.
[Материал создан на основе информации сайта CHEVYMAN]
