2. Снимите вентиляционную решетку.
3. Разблокируйте разъем и отсоедините его.
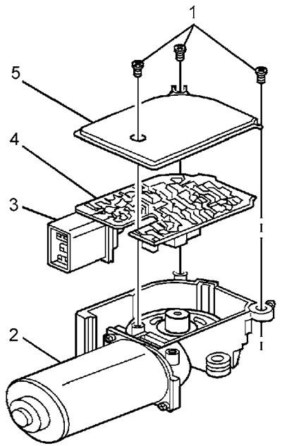
4. Отверните три винта (1) и снимите крышку (5) с электродвигателя (2).

5. Проверьте состояние герметика на крышке. Если необходимо замените герметик на новый.
6. Осторожно извлеките схему управления (4) из корпуса электродвигателя, удерживая схему за разъем (3).
7. Установку произведите в порядке, обратном снятию.
Оригинал статьи находится на сайте «ChevyMan»
