Предупреждение: не удаляйте винты механизма привода люка.
1. Ослабьте 4 регулировочных винта.
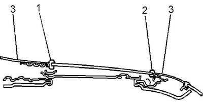
2. Отрегулируйте положение задней части панели стекла (1) так, чтобы она встала заподлицо с панелью крыши (3) или немного выше панели. Высота 0,0-2,0 мм.

3. Затяните все регулировочные винты. Момент затяжки 7 Н·м.
4. Отрегулируйте положение передней части панели стекла (2) так, чтобы она встала заподлицо с панелью крыши (3) или немного ниже панели. Высота 0,0-2,0 мм
5. Затяните все регулировочные винты. Момент затяжки 7 Н·м.
