Снятие
1. Откачайте хладагент из системы кондиционирования.
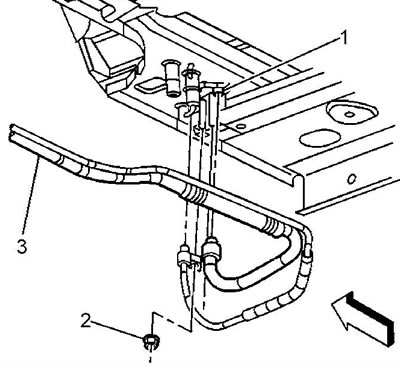
2. Отсоедините трубки (3) дополнительного испарителя от трубки конденсатора (2) и аккумулятора (5). Момент затяжки 16 Н·м.

3. Ослабьте зажим крепления подкрылка правого переднего колеса.
4. Поднимите автомобиль.
5. (Модели с 2007 г.) Снимите подножку с правой стороны.
6. (Модели с 2007 г.) Снимите передний подкрылок с правой стороны.
7. (Модели с 2007 г.) Снимите задний подкрылок с правой стороны.
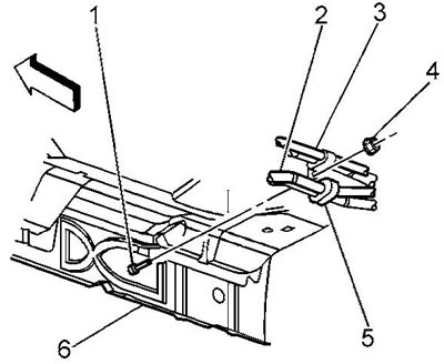
8. Отверните гайку (2) и отсоедините трубки (3) дополнительного испарителя от дополнительного блока климатической установки. Момент затяжки 16 Н·м.

9. Отверните гайку (4) крепления трубок отопителя от шпильки (1) на раме (6). Момент затяжки 7 Н·м.
10. Отсоедините трубки (3) дополнительного испарителя от держателя (5).
11. Снимите трубки дополнительного испарителя.

Установка
12. Установка проводится в обратном порядке.
13. Проведите вакуумирование системы и заправку системы хладагентом.
14. При помощи специального приспособления проверьте подсоединённые штуцеры системы на наличие утечки хладагента.
[Информация взята с официального сайта: «CHEVYMAN.ru»]
