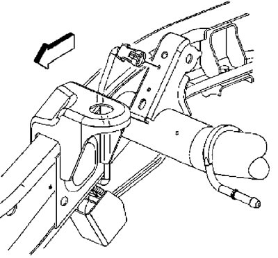
GMT800. Передний датчик
1. Поднимите автомобиль и установите под раму стойки безопасности.
2. Отсоедините разъем проводов датчика от разъема пучка проводов автомобиля.
3. (GMT800) Отсоедините от кронштейна датчика высоты расположения кузова провода датчика скорости колеса.
GMT800. Серия 1500
GMT800. Серия 2500
GMT900
4. Отверните болт крепления кронштейна тяги датчика к верхнему поперечному рычагу подвески. Момент затяжки 9 Н·м.

5. Отверните болт крепления датчика к раме. Момент затяжки 12 Н·м.
6. Снимите датчик.
7. Установка проводится в обратном порядке.
GMT800. Серия 1500, левый задний
1. Поднимите автомобиль и установите под раму стойки безопасности.
2. Снимите колесо.
3. Отсоедините разъем проводов датчика от разъема пучка проводов автомобиля.
4. Отверните болт крепления кронштейна тяги датчика. Момент затяжки 25 Н·м.

5. Разверните проем кронштейна так, чтобы кронштейн можно было снять с верхнего продольного рычага подвески.
6. Отверните болт крепления датчика к раме. Момент затяжки 12 Н·м.
7. Снимите датчик.
8. Установка проводится в обратном порядке. Кронштейн на верхнем рычаге подвески должен встать между ограничителями.

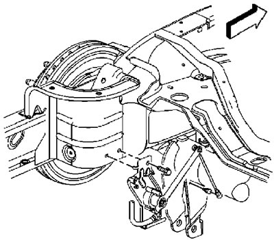
Левый задний
1. Поднимите автомобиль и установите под раму стойки безопасности.
2. Снимите колесо.
3. Отсоедините разъем проводов датчика от разъема пучка проводов автомобиля.
GMT800 |
GMT900 |
4. Отверните болты крепления датчика. Момент затяжки 12 Н·м.
GMT800
5. Снимите датчик с автомобиля.
6. Отсоедините тягу датчика от шаровой опоры.
7. Установка в обратном порядке.
Примечание: тяга датчика подсоединяется к шаровой опоре после затяжки болтов крепления.
Правый задний
1. Поднимите автомобиль и установите под раму стойки безопасности.
2. Снимите колесо.
3. Отсоедините разъем проводов датчика от разъема пучка проводов автомобиля.
GMT800
4. (GMT800) Отсоедините тягу датчика от шаровой опоры.
(GMT900) Отверните болт (2) крепления тяги к рычагу.
GMT900
5. Отверните болты крепления датчика. Момент затяжки 12 Н·м.

6. Снимите датчик с автомобиля.
7. Установка проводится в обратном порядке.
[Статья была перепечатана с сайта: «CHEVYMAN.RU»]
