Замена
1. Для отсоединения троса дроссельной заслонки от рычага заслонки протолкните соединение отверткой вперед, поднимите вверх и снимите со шпильки рычага (см. иллюстрацию).
3.1. Используйте отвертку для проталкивания вперед троса дроссельной заслонки, затем поднимите его вверх, чтобы отсоединить от рычага
2. Для отсоединения оболочки троса дроссельной заслонки от кронштейна нажмите на наконечник и вытолкните оболочку из кронштейна назад.
3. Отсоедините все зажимы или скобы, удерживающие трос на коробке передач.
4. Отверните болт, удерживающий трос на коробке передач (см. иллюстрацию).
3.4. Для того, чтобы отвернуть болт крепления троса дроссельной заслонки, используйте торцевую головку и удлинитель
5. Потяните крышку вверх так, чтобы показался конец троса, и отсоедините его от связующего звена коробки передач (см. иллюстрацию). Вытяните трос из автомобиля.
3.5. Вытяните трос дроссельной заслонки из коробки передач и снимите связующее звено троса со шпильки
6. Для установки троса подсоедините его к связующему звену дроссельной заслонки и коробки передач, затем прочно установите крышку над тросом и закрепите болтом. Проложите трос до верха двигателя, протолкните оболочку через кронштейн, чтобы он встал на место, установите соединение на шпильку рычага дроссельной заслонки и потяните назад, чтобы зафиксировать ее.
Регулировка
7. Во время этой регулировки двигатель должен быть выключен.
8. Нажмите на скобу и протолкните ползун через наконечник (в сторону от рычага дроссельной заслонки) настолько, насколько это возможно (см. иллюстрацию).
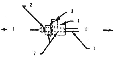
3.8. Детали регулировки троса дроссельной заслонки: 1 - рычаг дроссельной заслонки, 2 - ползун к патрубку (нулевое положение или состояние для корректировки положения), 3 - скоба, 4 - наконечник, 5 - направление корректировки (регулировки), 6 - трос, 7 - ползун
9. Отпустите регулировочную чеку.
10. Вручную поворачивайте рычаг дроссельной заслонки к положению полного открытия заслонки до тех пор, пока не послышится щелчок скобы, после чего отпустите рычаг. Теперь трос отрегулирован.
Примечание. Регулируя трос, не следует прикладывать слишком большое усилие к рычагу дроссельной заслонки. Если для регулировки потребуется большое усилие, отсоедините трос от торца коробки передач и проверьте, свободно ли он перемещается. Если он движется с трудом, замените трос. Если после этого трос начнет перемещаться свободно, то скорее всего проблема возникла из-за перегиба звена дроссельной заслонки в коробке передач или неисправен рычаг дроссельной заслонки.
Источник статьи доступен на веб-сайте CHEVYMAN.ru
