Предостережение: при зарядке аккумуляторной батареи выделяется взрывчатый газ. Батарея содержит коррозионно опасный электролит. Уровень силы тока при разряде батареи достаточно высок для того, чтобы вызвать ожоги. Для снижения риска получения травм следуйте следующим руководящим принципам:
- Всегда надевайте защитные очки.
- Избегайте наклонять батарею.
- Не допускайте появления около батареи открытого пламени и ис-крообразования.
- Не допускайте контакта электролита с глазами и кожей. Если контакт произошел, тщательно промойте пораженный участок чистой водой и обратитесь за медицинской помощью.
Примечание: система электропроводки автомобиля однопроводная с отрицательным проводом по "земле". Напряжение в системе равно 12 вольт. Перед запуском от внешнего источника убедитесь в том, что источник электроэнергии также работает с напряжением 12 вольт постоянного тока. Использование любого другого типа источника электроэнергии может привести к повреждению компонентов электрооборудования.
1. Установите автомобиль - донор и автомобиль - реципиент так, чтобы можно было соединить аккумуляторные батареи специальными кабелями, при этом автомобили не должны касаться друг друга, а кабели были электрически исправны.
2. Установите селектор АКПП в положение "Р".
3. На обоих автомобилях выключите все электрические нагрузки, которые не нужны.
4. На обоих автомобилях выключите зажигание.
Внимание: на некоторых автомобилях установлена дистанционная положительная клемма аккумуляторной батареи. При аварийном запуске ВСЕГДА используйте эту дистанционную клемму.
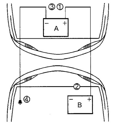
5. Подсоедините красный кабель к положительной клемме (2) аккумуляторной батареи автомобиля - реципиента.

6. Подсоедините красный кабель к положительной клемме (1) аккумуляторной батареи автомобиля-донора.
7. Подсоедините черный кабель к отрицательной клемме (3) аккумуляторной батареи автомобиля-донора.
Предостережение: не подсоединяйте черный кабель непосредственно к отрицательной клемме разряженной аккумуляторной батареи во избежание искрообразования и взрыва батареи.
8. Подсоедините черный кабель к хорошей "земле" (4) на двигателе автомобиля-реципиента. Это подсоединение должно быть не ближе 50 см от разряженной батареи.
9. Запустите двигатель автомобиля-донора и выполните следующее:
- Выключите все электрические нагрузки.
- Выведите двигатель на режим 1500 об/мин на пять минут.
Примечание: никогда не включайте стартер больше, чем на 15 секунд. После 15 секунд работы обязательно охладите стартер, по крайней мере, в течение двух минут.
10. Прокрутите двигатель автомобиля-реципиента стартером. Если коленчатый вал двигателя не вращается или вращается слишком медленно, выполните следующее:
- Выключите зажигание.
- Дайте поработать двигателю автомобиля-донора пять минут на режиме 1500 об/мин.
- Повторите попытку запуска двигателя автомобиля - реципиента.
11. После запуска двигателя автомобиля-реципиента снимите соединительные кабели в порядке, обратном подсоединению. Не допускайте контакта наконечников кабелей с металлическими деталями автомобилей.
Статья была перепечатана с сайта CHEVYMAN.ru
