Снятие
Внимание: при обслуживании торсиона не допускайте повреждения защитного покрытия торсиона. Повреждение покрытия приведет к преждевременному выходу торсиона из строя.
1. Поднимите автомобиль и установите под раму стойки безопасности.
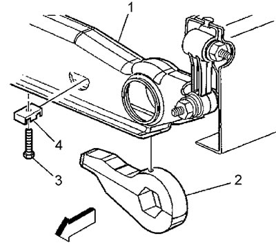
2. Установите на рычаг торсиона и поперечину рамы струбцину разгрузки торсиона.

3. Увеличивайте усилие на рычаге торсиона до сброса нагрузки с регулировочного болта (3) и гайки (4).

4. Выверните регулировочный болт, сосчитайте количество оборотов, необходимых для снятия болта.
5. Снимите регулировочный болт и гайку.
6. Снимите струбцину, сейчас торсион полностью разгружен.
7. Выньте торсион из регулировочного рычага движением вперед. Поддерживайте рычага от падения.

8. Выверните болты (4) крепления поперечины торсиона из приваренных гаек (1).
Первый вариант подвеса поперечины торсиона
9. Отверните гайки (2) и снимите болты (1) верхней тяги (3) опоры поперечины.
Второй вариант подвеса поперечины торсиона
10. Снимите поперечину торсиона.
11. Снимите торсион с автомобиля.
Внимание: запомните положение торсионов, левый и правый торсионы не взаимозаменяемые.
Установка
1. Вставьте торсион в нижний рычаг подвески.
2. Установите поперечину торсиона.
3. Установите болты крепления торсиона в приваренные гайки. Затяните болты. Момент затяжки 95 Н·м.
4. Установите болты и гайки верхней тяги опоры поперечины. Затяните болты. Момент затяжки 95 Н·м.
5. Удерживая регулировочный рычаг в поперечине, заведите в него торсион до полной посадки торсиона в рычаге.
6. Установите на рычаг и поперечину струбцину.
7. Создайте натяжение торсиона, подтягивая рычаг к поперечине.
8. Установите регулировочный болт и гайку.
Внимание: заверните регулировочный болт в гайку на то же количество оборотов, которое потребовалось для снятия болта.
9. Снимите струбцину.
10. Удалите стойки безопасности.
11. Опустите автомобиль.
12. Измерьте высоту подвески. При необходимости отрегулируйте высоту подвески.
13. Для увеличения высоты подвески вращайте регулировочный болт (2) по часовой стрелке, для уменьшения высоты - против часовой стрелки.

