Снятие
Примечание: амортизаторы передней подвески многофункциональны. В дополнение к гашению колебаний подвески они также обеспечивают ограничение полного хода подвески. Поэтому при замене амортизатора устанавливайте аналогичный по жесткости и ходу амортизатор, в противном случае можно получить предпосылки к поломке деталей подвески.
1. Поднимите автомобиль и установите под раму стойки безопасности.
2. Подведите под нижний рычаг подвески стойку безопасности.
3. Если установлена подвеска с электронным управлением, отсоедините от датчика высоты подвески его тягу.
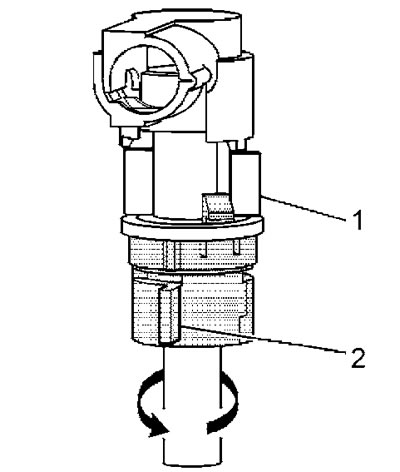
4. Возьмитесь за фиксаторы (1) и (2) разъема. Вращайте фиксаторы против часовой стрелки до размыкания разъема.

5. Потяните разъем вверх до его схода с шипа.
6. Удерживая шип штока ключом, отверните гайку верхней опоры. Момент затяжки 20 Н·м.

Внимание: верхний изолятор (1) значительно больше нижнего изолятора (3) и устанавливается сверху кронштейна рамы. Направляющее кольцо (2) помогает правильно совместить изоляторы при установке.
7. Снимите гайку.
8. Снимите верхний изолятор (1). Не выбрасывайте пластиковое направляющее кольцо (2).
9. Отверните болт крепления нижней опоры амортизатора к нижнему рычагу подвески.
Автомобили серии 1500 |
Автомобили серии 2500 |
Момент затяжки 80 Н·м.
10. Снимите амортизатор.
Установка
11. Установка проводится в обратном порядке. Гайку верхней опоры амортизатора затягивайте на автомобиле, стоящем на колесах.
Оригинал статьи находится на сайте ChevyMan
